某綜合服務中心SBS防水工程專項施工方案
某綜合服務中心SBS防水工程專項施工方案
1.工程概述
(1)工程概況。某綜合服務中心工程位于××路××側,××街北側。地勢平坦,視野開闊,周圍無障礙物。建筑面積:101464.2m2;建筑占地面積: 7890m2;建筑層數:地下一層,地上 31層;結構類型:框架剪力墻;本工程地下室建筑面積8823.6m2(包括車道)。
防水部位為:地下室底板、地下室頂板、地下室外墻、汽車坡道、坡道側壁。
地下室為車庫和設備用房,車庫部分防水等級為二級,主體采用一道4mm厚SBS(聚酯胎)防水卷材;設備用房防水等級為一級,主體采用2道防水設防:一道為4mm厚SBS(聚酯胎)防水卷材,一道為2mm厚水泥基聚合物防水涂料。地下室主體混凝土為防水混凝土,抗滲等級為P6。
(2)設計概況。
1)地下室底板防水構造。從下到上依次為:素土夯實;100mm厚C10混凝土墊層;20mm厚1︰2.5水泥砂漿找平層;4mm厚SBS改性瀝青卷材(聚酯胎),一層二膠(轉角二層三膠);50mm厚細石混凝土保護層;地下室防水混凝土底板(抗滲等級P6)。
2)基礎梁防水。從下到上依次為:素土夯實;20mm厚1︰2.5水泥砂漿找平層;4mm厚SBS改性瀝青防水卷材;50mm厚C20細石混凝土保護層;防水混凝土底板(抗滲等級S8)。
3)地下室側墻防水。從下到上依次為:防水鋼筋混凝土側墻(抗滲等級P6);4mm厚SBS改性瀝青卷材(聚酯胎),一層二膠(轉角二層三膠);2mm厚水泥基聚合物防水涂料(僅地下室防水等級為一級的部分墻身設有);20mm厚1︰2.5水泥砂漿保護層;90mm厚Mu7.5承重空心磚,砌筑保護墻(每3~4m做200mm×200mm磚垛)。
4)坡道側墻防水。從下到上依次為:防水鋼筋混凝土側墻(抗滲等級P6);4mm厚SBS改性瀝青卷材(聚酯胎),一層二膠(轉角二層三膠);20mm厚1︰2.5水泥砂漿保護層;90mm厚Mu7.5承重空心磚,砌筑保護墻(每3~4m做200mm×200mm磚垛)。
5)地下室頂板防水構造。地下室頂板防水構造從上到下依次為:缸磚面層;20mm厚1︰3水泥砂漿結合層;100mm(104.8)厚混凝土墊層;1.2mm厚聚合物水泥復合防水涂料;20mm厚1︰2.5水泥砂漿找平層;104.8mm厚煤渣墊層;4mm厚SBS改性瀝青防水卷材(聚酯胎);鋼筋混凝土頂板(抗滲等級P6)。
6)集水坑、 PHC樁頂等防水構造。從下到上依次為:集水坑底板和側壁土壁一側的防水構造同地下室底板。PHC樁頂防水構造詳02J301—62。
7)汽車坡道的防水構造。從下到上依次為:詳《汽車庫(坡道式)建筑構造》05J927—1。
2.施工部署
(1)施工準備。
1)技術準備。
①施工前,由技術部人員會同防水專業分包單位組織圖紙學習,編制防水施工專題方案,現場管理人員要充分熟悉地下室及基礎部分施工圖紙,找出其中的疑難點,掌握防水做法、施工順序及細部節點防水處理等,確保防水施工時的進度和質量。
②防水施工前,本工程技術部負責人,要親自對技術管理人員、工長進行施工方案,技術交底,交底要有交底記錄和簽名。現場施工員應向防水施工班組進行各個分項工程技術交底。內容包括:施工部位、施工順序、施工工藝、構造層次、節點設防方法、增強部位及做法,工程質量標準,保證質量的技術措施,成品保護措施和安全注意事項。
2)材料機具準備。
①SBS防水卷材及其配套的基層處理劑、膠粘劑、密封膠帶等應有材料都由防水分包單位供應,所有材料出廠應有質量證明文件,并經指定的質量檢測部門認證,確保其質量符合技術要求。材料進場后項目實驗員要會同甲方、監理單位對卷材按規定見證取樣進行復驗,同一品種、牌號和規格的卷材,抽驗數量為:大于1000卷抽5卷,每500~1000卷抽4卷,100~499卷抽3卷,100卷以下抽2卷。將抽驗的卷材開卷進行規格和外觀質量檢驗。在外觀質量檢驗合格的卷材中,任取1卷作物理性能檢驗,全部指標達到標準規定時,即為合格。其中如有1項指標達不到要求,應在受檢產品中加倍取樣復驗,全部達到標準規定為合格。復驗時有1項不合格,則判定該產品不合格。不合格的防水材料嚴禁在建筑工程中使用。
②熱熔法施工所需的液化石油氣以及配套的火焰噴槍以及清掃基層、鋪貼卷材等施工操作中各種必需的工具、用具、機械以及安全設施、滅火器材。 所有施工機具都由防水分包單位自備。
3)現場準備。
①墊層、找平層施工完畢,找平層在陰陽角處做成R=20mm的圓角。
②找平層平整度較好,無開裂、空鼓等質量缺陷。如有開裂或空鼓,周邊擴大10cm采用切割機切除后重新鋪設找平層。
③磚胎模砌筑完畢,土壁一側回填密實且與混凝土接觸面采用1︰2.5水泥砂漿抹灰。
④抹灰找平層的含水率符合要求。
4)作業人員的準備。經項目經理部嚴格的勞務招標,選取1家有2級資質以上的防水專業分包單位,所有施工人員必須持證上崗,無證不得從事防水施工。
(2)施工組織。
1)PHC管樁分棟施工完驗收完成后,及時分段組織塔樓承臺、電梯井、集水坑的土方開挖,砌筑承臺、獨立柱、基礎梁磚胎模。
2)地基驗槽后開始澆筑100mm厚的C10混凝土墊層。
3)墊層混凝土澆筑完畢后進行磚胎模內側用1︰3水泥砂漿抹灰和砂漿找平層的施工。在地下室底板墊層做20mm厚1︰2.5水泥砂漿找平層,找平層控制好它的平整度。陰陽角處,為了應力集中導致防水層被拉裂,應用水泥砂漿抹成小圓角,圓弧半徑為20mm。
4)找平層施工完后要澆水進行養護,使其強度上升,待其表面干燥后方可進行防水層的粘貼施工。當基層潮濕時,應先在基層上涂刷潮濕基層處理劑。
5)地下室底板SBS卷材防水層施工完畢后,澆筑50mm厚細石混凝土保護層,再進行基礎底板施工。
6)地下室結構驗收后進行地下室外墻外側SBS卷材防水層施工,卷材施工完畢后進行土方回填。
7)地下室頂板混凝土澆筑完畢,等主體結構驗收前組織SBS卷材防水層施工。
8)地下室底板、頂板后澆帶防水層做附加增強處理,采用滿粘法加鋪1道,兩邊各余出300mm,與兩邊卷材相搭接。
3.主要施工方案
(1)卷材防水層施工。
1)卷材防水層施工的工藝流程。水泥砂漿表面清理、修補→涂布基層處理劑→節點附加增強處理→定位、彈線、試鋪→熱熔法粘貼防水卷材→收頭處理、搭接縫密封→清理、檢查、修整→混凝土保護層施工。
2)基層施工前的處理。
①基層必須牢固,無松動、起砂等缺陷。基層表面應平整潔凈、均勻一致。
②必須將突出基層表面的異物、砂漿疙瘩等鏟除,并將塵土雜物清除干凈,最好用高壓空氣進行清理。陰陽角、管道根部等處更應仔細清理,若有油污、鐵銹等,應以砂紙、鋼絲刷、溶劑等予以清除干凈。
③基層若高低不平或凹坑較大時,應用摻加108膠(占水泥重量的15%)的1︰3水泥砂漿抹平。
④基層含水率宜小于9%,測定方法是:將一幅1m×1m的卷材覆蓋在基層表面上,靜置2~3h,若覆蓋處的基層表面無水印,且緊貼基層一側的卷材亦無凝結水痕,即為基層含水率小于9%。
3)涂布基層處理劑。
①基層處理劑(冷底子油)由卷材生產廠家配套供應。涂刷或噴涂基層處理劑前要檢查找平層的質量和干燥程度并加以清掃,符合要求后才可進行,在大面積涂布前,應用鏟刀將基層表面的突出物、砂漿疙瘩等異物鏟除,用掃帚、毛刷清掃基層表面特別是節點部位的塵土及雜物等。
②施工時應將已配制好的或分桶包裝的各組分按配合比攪拌均勻。
③一次噴、涂的面積,根據基層處理劑干燥時間的長短和施工進度的快慢確定。面積過大,來不及鋪貼卷材,時間過長易被風沙塵土污染或露水打濕;面積過小,影響下道工序的進行,拖延工期。要涂布均勻,不得過厚或過薄,更不得漏涂露底。
④涂刷要薄而均勻,不得有空白、麻點、氣泡,也可用機械噴涂。如果基層表面過于粗糙,宜先刷一遍慢揮發性冷底子油,待其表干后,再刷一遍快揮發性冷底子油。
⑤基層處理劑涂刷后宜在當天鋪完防水層,但也要根據情況靈活確定。如多雨季節、工期緊張的情況下,可先涂好全部基層處理劑后再鋪貼卷材,這樣可防止雨水滲入找平層,而且基層處理劑干燥后的表面水分蒸發較快。一般要干燥4h以上,方可進行下道工序施工。
⑥當找平層表面潮濕時,應涂刷濕固化型膠粘劑或潮濕界面隔離劑。
4)卷材的鋪貼。
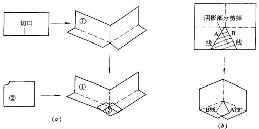
①各個陰陽角(平立面轉角處)、卷材收頭處等節點部設置附加增強層,再鋪一層卷材附加層,附加層卷材剪成圖1所示形狀。鋪貼后剪縫處用密封材料封固。

圖1 陰陽角卷材剪貼方法
(a)陽角做法;(b)陰角做法
②將卷材置于起始位置,對好長、短方向搭接縫,滾展卷材1000mm左右,掀開已展開的部分,開啟噴槍點火,噴槍頭與卷材保持50~100mm距離,與基層呈30~45°角,將火焰對準卷材與基層交接處,同時加熱卷材底面熱熔膠面和基層,至熱熔膠層出現黑色光澤、發亮至稍有微泡出現,慢慢放下卷材平鋪基層,然后進行排汽輥壓使卷材與基層粘結牢固。當鋪貼至剩下300mm左右長度時,將其翻放在隔熱板上,用火焰加熱余下起始端基層后,再加熱卷材起始端余下部分,然后將其粘貼于基層。
③卷材起始端鋪貼完成后即可進行大面積滾鋪。持槍人位于卷材滾鋪的前方,按上述方法同時加熱卷材和基層。推滾卷材人蹲在已鋪好的卷材起始端上面,等卷材充分加熱后緩緩推壓卷材,并隨時注意卷材的平整順直和搭接縫寬度。其后緊跟一人用輥子從中間向兩邊抹壓卷材,趕出氣泡,并用刮刀將溢出的熱熔膠刮壓接縫邊。另一人用輥子壓實卷材,使之與基層粘貼密實。
④搭接縫的粘貼。在熱熔粘結接縫之前,應先將下層卷材表面的隔離紙燒掉,以利搭接牢固嚴密。操作時,由持槍人手持燙板(隔火板)柄,將燙板沿搭接粉線后退,噴槍火焰隨燙板移動,噴槍應離開卷材50~100mm,貼靠燙板。移動速度要控制合適,以剛好熔去隔離紙為宜。燙板和噴槍要密切配合,以免燒損卷材。排汽和輥壓方法與前述相同。當整個防水層熔貼完畢后,所有搭接縫均應用密封材料涂封嚴密。
⑤立面卷材操作要點。平面立面交接處,則先粘貼好平面,經過轉角,由下往上粘貼卷材,粘貼時切勿拉緊,要輕輕沿轉角壓緊壓實,再往上粘貼,同時排出空氣,最后用手持壓輥滾壓密實,滾壓時要從上往下進行。外墻與地下室頂板交接處,頂板防水卷材應壓立面墻體卷材,在交接處再附加一層防水卷材,寬度≥500mm。
(2)鄭州賽諾建材MD改性聚合物水泥基聚合物防水涂料施工。
1)施工準備。先將施工部位清掃清洗干凈,滲水部位進行防水注漿修補好,用鋼絲刷將屋面存積的渣漬清掃干凈,屋面不平整部位用水水泥砂漿補修好,符合防水施工規范要求。配料按廠家產品說明書規定的配合比混料,用手動或電動攪拌器充分攪拌,稍放置后再攪勻即可涂刷(抹)。每次拌合的數量視工程量大小而定。
2)施工工藝流程。基層清理→基層含水率測定→節點附加增強層處理→第一遍涂刷→輔設無紡布→第二遍涂刷→第三遍涂刷2mm待下一道保護層施工,先將基面噴水飽和后,再進行JS防水涂刷工工藝。
3)立面處理。
①為了提高立面防水層的質量,在第一道涂層防水材料中應添加6-8%混合外摻劑,以提高材料的粘度,減少流淌,涂刷遍數增加一遍,以保證防水成膜的厚度。
②防水層施工完畢后,待下道砂漿批檔保護扣隔熱層。
4)施工步驟。
①按照從低處向高處,先里平面后外面的順序,在基層上滿涂JS水泥基防水涂料,厚度均勻。
②涂刮要分多次進行,力求均勻,不可出現露底現象,每次刮涂不宜太厚,控
制在0.8mm以內,必須待第一次涂刷工序,前后兩次間隔時間一般為4~8h。
③成膜遍數或厚度符合設計要求,一般JS水泥基刮涂約2mm。
④防水層施工完畢后嚴禁亂踩或斗車旋轉物品,如發現破壞之外,應及時修補,
確保工程質量。
⑤涂膜防水層未實干固化前,不得在防水層上堆任何物品或進行其它施工作業
⑥防水層完畢后必須及時批砂漿保護層。有效的保護措施,避免破壞防水層。
(3)防水構造大樣圖(圖2~圖7)。

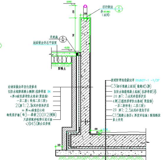
圖2 地下室頂板防水構造

圖3 地下室側墻及底板防水構造b1

圖4 卷材防水層與管道埋設件連接處做法
1—管道;2—套管;3—夾板;4—SBS卷材防水層;5—填縫材料;
6—聚苯板;7—附加卷材層襯墊

圖5 地下室底板后澆帶防水大樣

圖6 底板卷材防水層轉角做法

圖7 頂板卷材防水層轉角做法
4.質量保證措施
(1)質量驗收標準。卷材防水層的施工質量檢驗數量,應按鋪貼面積每100m2抽查1處,每處10m2,且不得少于3處。
1)主控項目。
①卷材防水層所用卷材及主要配套材料必須符合設計要求。
②卷材防水層及其轉角處、穿墻管道等細部做法均須符合設計要求。
2)一般項目。
①卷材防水層的基層應牢固,基層表面應潔凈平整,不得有空鼓、松動、起砂和脫皮現象;基層陰陽角處應做成圓弧形。
②卷材防水層的搭接縫應粘(焊)結牢固,密封嚴密,不得有皺折、翹邊和鼓泡等缺陷。
③側墻卷材防水層的保護層與防水層應粘結牢固,結合緊密、厚度均勻一致。
④卷材搭接寬度的允許偏差為±10mm。
(2)質量問題及其防治。
1)接頭搭接不良。
①卷材防水層的接頭搭接很關鍵,直接關系到卷材防水層的密封整體性。如果接頭搭接不良,地下水就會沿接頭縫隙滲入卷材防水層。
②卷材接頭應按專門規定施工,要注意接頭相粘結的兩個面均應滿涂膠粘劑,并掌握好粘貼時間;粘貼時不要帶入空氣形成氣泡,要用壓輥用力滾壓使之排出存有的空氣、粘貼牢固;收頭粘貼后還應以密封材料封閉,在密封材料固化后再涂刷一層聚氨酯涂膜防水材料,然后以108膠水泥砂漿壓縫封閉(水泥︰砂︰108膠=1︰3︰0.15)。
③對已產生搭接不良的卷材接頭,應視具體情況,分別處理。
a.搭接不符合規定、影響防水效果的,可重新鋪設,或加鋪防水層。
b.接頭粘結不牢的,應先根除影響粘結的因素,再重新將接頭粘結牢固。
c.接頭損壞,甚至無法搭接者,可采取加鋪卷材的方法予以修補,即先將損壞部分剪掉,再分清層次,加鋪卷材進行搭接。
d.接頭甩槎部分已用膠粘劑粘實不易撕開者,可用噴燈微火烘烤,趁熱將粘實部分小心地一層一層地撕開,切勿損壞卷材,然后將卷材表面的污物清除干凈,再行搭接施工。
2)空鼓。
①鋪貼卷材的基層潮濕、不平整、不清潔,均影響防水層與基層的粘結,基層內的水分受熱蒸發,氣壓增大,粘結不牢的防水層內充滿蒸汽與基層脫離,形成空鼓;壓鋪時用力不均,也可造成粘結不實而空鼓,鋪貼立面卷材更易產生這種情況;膠粘劑涂刷不勻或基層露底、出現凝膠,以及鋪貼時未徹底排除空氣。
②鋪貼合成高分子或高聚物改性瀝青防水卷材應注意將膠粘劑涂刷均勻、不得露底,且不宜反復涂刷形成凝膠;鋪貼卷材應及時按橫向順序用力滾壓,以排除殘存空氣,然后再滾壓使其粘牢;要處理好接頭的粘結,做好收頭施工,對卷材搭接重疊三層的部位,必須用聚氨酯密封膏填充封閉。
③對已經出現空鼓的卷材防水層,可將空鼓部分的卷材剪掉,再加鋪卷材,按規定分層搭接,補貼密實。
3)管道部位卷材粘貼不良。
①卷材鋪貼前,先在管道根部周圍做增補處理,注意做好管道根部的卷材收頭處理。
②卷材防水層已出現翹邊等粘結不良現象時,應撕開并清理干凈,根據形狀將卷材剪口,再重新鋪實,然后以附加卷材鋪貼封嚴。
(3)成品保護措施。
1)本項目地下防水施工季節在10~11月份,是陰雨天氣較多的月份。防水工程要求基層面必須干燥,陰雨時就不能施工,受季節施工影響較大。因此,要提前掌握好天氣預報,搶晴天,戰陰天,搶時間作防水施工。
2)施工期間必須加強抽排水工作,使基坑內地下滯水或雨水水位穩定降低在底板墊層以下不少于500mm處,直至施工完畢。
3)卷材鋪設完畢,經檢查合格后,隨即進行防水保護層的施工,及時保護防水層免受損傷。保護層施工后加強養護,不得過早上人上料。
4)混凝土運輸盡可能利用塔吊,如果塔吊不能投入使用,使用斗車運輸時,必須鋪好木模板,防止運輸過程中對防水層的破壞;振搗宜采用鐵輥滾壓或人工拍實,不宜采用機械振搗,以免破壞防水層。
5)施工人員操作時不得穿釘子鞋,高跟鞋,不得在卷材上拖放施工機具和材料,不得直接在卷材上堆放重物。
6)土方回填前做好外墻保護層,土方回填時,要分層進行,不得用自卸汽車直接傾倒。回填時,土方從基坑邊傾倒時,土方塊徑不得過大,還必須要防滾落措施。
5.安全技術措施
(1)防水卷材屬易燃品,在存放的倉庫以及施工現場內都要嚴禁煙火,必須有防火措施。
(2)防水專業施工進場時,必須對施工人員進行三級安全教育,施工前應進行安全技術交底工作,提高工人的安全意識。防水施工操作過程必須符合安全技術規定。
(3)皮膚病、支氣管炎病、結核病、眼病以及對瀝青、橡膠刺激過敏的人員,不得參加操作。
(4)瀝青操作人員不得赤腳或穿短袖衣服進行作業,應將褲腳袖口扎緊,手不得直接接觸瀝青,接觸有毒材料需戴口罩和加強通風。
(5)操作時應注意風向,防止下風操作人員中毒、受傷。超過5級大風,不得進行卷材粘貼施工.
(6)每天施工完畢后,應關閉好液化罐開關,存放在固定的地方。
(7)施工過程中,必須同時配置好滅火器,設置專人值守巡邏。
當前在地下工程的混凝土,磚結構構筑物,回填后,經常會因各種原因發生滲漏,處理方法也多種多樣,但對于混凝土的毛細孔或微細裂紋的滲水和出汗問題,一直是個工程難題,于是就有了“不怕漏,就怕滲的”說法。尤其是遇到磚結構滲水,更是難以耐久性解決。
建筑物回填后,發生了滲漏,嚴重的可以用注漿或速凝堵漏材料進行堵漏,但如果遇到滲水和出汗的問題,注漿和速凝的堵漏材料的優勢就受到了限制。市場急需要一種能適合內部施工的,方法簡單的,耐久性好的技術來解決目前工程上遇到的難題。
鄭州賽諾建材,專業工程水密封技術20年,電話:
400-0371-713.m.zdweidun.com.cn








