某別墅群屋面防水施工方案
1.工程概況
(1)本工程為××房地產開發有限公司新建的××住宅區二期工程,建于××市××區東郊××中心區,西鄰××西路,北鄰××北路。本工程為群體多層住宅工程,包括87棟住宅及1棟配套公建組成,地下一層,地上二層,住宅部分共17種戶型。框架剪力墻結構,外觀為仿古式建筑。
(2)本工程屋面分為平屋面(又分上人與不上人兩種)與坡屋面兩種,防水做法分別為(防水等級設計為二Ⅱ級):平屋面: SBS防水卷材Ⅲ+Ⅳ;型坡屋面: 1.5mm厚高分子防水涂料。
2.施工部署
(1)組織機構。

(2)勞動力安排。本工程勞動力投入計劃詳見表1。
| 序 號 | 崗 位 | 人 數 |
| 1 | 施工班長 | 1 |
| 2 | 安全員 | 1 |
| 3 | 施工工人(單棟) | 6 |
(3)施工工具。本工程所使用的工具詳見表2。
| 名 稱 | 用 途 | 備 注 | 數 量 |
| 棕掃帚 | 清理基層 | 不掉毛 | 10把 |
| 小平鏟 | 清理基層 | 20把 | |
| 裁剪刀 | 裁剪胎體增強材料 | 20把 | |
| 卷 尺 | 量測、檢查 | 6個 | |
| 攪拌器 | 攪拌涂料 | 2臺 | |
| 滾刷 | 滾刷涂料 | 50把 | |
| 噴 燈 | 加熱卷材 | 10個 |
3.施工進度計劃
根據本工程施工進度總控計劃,屋面防水施工應在期間穿插進行。結合勞動力投入、屋面防水工程量、施工難點及其他工序施工等因素確定具體操作時間。單棟防水施工工期(常溫)3d。
4.材料要求
(1)基層處理劑由防水廠家配套供應的改性瀝青溶液、冷底子油。
(2)SBSⅢ、Ⅳ型改性瀝青防水卷材的規格、外觀質量要求和物理性能詳見表3~表5。
| 寬度(mm) | 每卷長度(m) |
| ≥1000 | 10.0 |
| 項 目 | 外觀質量要求 |
| 斷裂、皺折、孔洞、剝離 | 不允許 |
| 邊緣不整齊、砂礫不均勻 | 無明顯差異 |
| 胎體未浸透、露胎 | 不允許 |
| 涂蓋不均勻 | 不允許 |
| 項 目 | 性 能 | |
| 拉力(N) | 不小于400 | |
| 延伸率(%) | 不小于200 | |
| 耐熱度(85+2℃, 2h) | 不流淌,無集中性氣泡 | |
| 柔性(-25~-5℃) | 繞規定直圓棒無裂紋 | |
| 不透水性 | 壓力 | ≥0.2MPa |
| 保持時間 | ≥30min | |
(3)丙烯酸防水涂料。單組分防水涂料,每桶25kg。其外觀質量要求和物理性能詳見表6、7。
| 項 目 | 外觀質量要求 |
| 斷裂、皺折、孔洞、剝離 | 不允許 |
| 邊緣不整齊、砂礫不均勻 | 無明顯差異 |
| 胎體未浸透、露胎 | 不允許 |
| 涂蓋不均勻 | 不允許 |
| 項 目 | 性 能 | |
| 拉伸強度MPa | ≥1.0 | |
| 斷裂延伸率(%) | 不小于200 | |
| 低溫柔性(-10℃) | 繞ф10mm棒無裂紋 | |
| 不透水性 | 壓力 | ≥0.3MPa |
| 保持時間 | ≥0.5h | |
?。?)材料進場抽樣復驗規定。同一品種、牌號和規格的卷材,抽樣數量為:大于1000卷抽取5卷;500~1000卷抽取4卷;100~499卷抽取3卷;小于100卷抽取2卷。同一品種、牌號和規格的防水涂料每5t抽取1組試樣。
5.主要的施工方法和技術措施
(1)材料準備。防水材料進場后,其存放環境要符合干燥通風的要求。
1)水卷材直立放置,防水涂料包裝容器須密封,容器表面應有明確標志標明涂料各組份名稱,生產日期及有效期。
2)防水材料嚴防日曬雨淋,遠離火源,避免碰撞,庫房外要配備消防設備及防水標識。
3)對于進入現場防水材料須有出廠合格證,有北京市建筑材料質量監督檢驗站的檢驗報告和使用認證書方可進場。
(2)技術準備。
1)施工由技術部對項目各有關部門進行施工方案交底,由工程部負責對操作班組、人員進行技術交底或下達作業指導書。
2)工程部設專人掌握、記錄好天氣情況,在目前季節不得在雨天、風力5級以上時施工。
(3)基層要求。
1)基層(水泥砂漿找平層)須表面壓實平整,抹平收水后應二次壓光,充分養護,不得有酥松、起砂、起皮現象,平整度要求以2m靠尺和楔形塞尺檢查不得超過5mm。如基層表面有突起物(如砂漿疙瘩等)應鏟除,并將塵土雜物清掃干凈,對于基層孔洞、砂眼凹面用水泥聚氨酯攪合成膩子,采用刮板或鐵板抹子刮補填平。
2)基層應干燥,一般以含水率小于9%為宜,其簡單測定方法是將1m×1m的卷材平坦地干鋪在找平層的表面覆蓋在基層的表面上,覆蓋3~4h,如果卷材覆蓋處無水印,緊貼基層一側卷材也無水印即可施工。
3)基層與突出結構的連接處以及基層的轉角處均應做成鈍角帶有圓弧,R=50mm。
4)凡穿出屋面的管根、預埋件變形縫等薄弱部位以及排氣帽根部都須在周圍留槽,填嵌聚氨酯涂料或密封材料后方可施工防水層。
5)屋面防水層須待屋面上預留管線、預埋件、排氣帽等施工完畢后方可進行施工,不得破壞施工完畢后的防水層。
(4)卷材防水施工工藝流程。基層清理→基層處理劑涂刷→特殊部位處理→第一遍防水卷材鋪貼→第二遍防水卷材鋪貼→防水收頭密封→防水保護層施工。
1)基層清理。先將基層表面清理干凈,對基層表面留有殘留灰漿、硬塊以及突出部分進行清掃、掃凈;檢查基層表面平整、無起砂、空鼓、空裂等缺陷。
2)涂刷基層處理劑。先將專用基層處理劑攪拌均勻,從一側開始順序涂刷,一次涂刷的面積應根據鋪貼卷材的進度和處理劑的干燥時間確定?;鶎犹幚韯└稍镆院蟛拍茕佡N卷材,干燥時間4h左右。
3)特殊部位處理。突出屋面結構(通風道、管道等)的連接處均應加鋪一層卷材附加層(圖1);有水落口杯四周的凹槽應填嵌密封膏,并應在杯口四周50cm范圍內做好附加層;陰陽角的基層應按照要求做成圓角,并設置附加層,陰角處全粘實鋪,陽角處采用空鋪。

圖1 伸出屋面管道
1—防水層 2—附加層 3—密封材料 4—金屬箍
4)第一遍防水卷材鋪貼(使用Ⅲ型SBS防水卷材)。
①采用熱熔法進行施工。即用噴槍火焰烘烤后直接與基層粘貼。卷材的鋪設方向:卷材應由坡底向坡頂鋪設,并平行于長方向鋪貼。將卷材置于起始位置,對好長短方向搭接縫,滾展卷材1m左右,掀開已展開的部分,開啟噴槍點火,噴槍頭與卷材保持50mm左右的距離,并在基層呈30~45°角,然后將火焰對準卷材與基層交接處,同時加熱卷材復面熱熔膠面和基層,直至熱熔膠面出現黑色光澤,發亮至稍有微泡出現,慢慢放下卷材平鋪于基層,然后進行排氣輥壓,使卷材與基層粘接牢固。
②滾鋪。卷材起始端鋪貼完成后,即可進行大面積滾鋪,持噴槍的操作人員位于卷材滾鋪的前方,按上述方法同時加熱卷材和基層,推滾卷材的操作人員蹲在已鋪好的卷材起始端上面,等卷材充分加熱后緩緩推壓卷材,并隨時注意卷材的平整順直,和搭接縫寬度,保證其符合要求,后面應緊跟一人,用棉紗團從中間向兩邊抹壓卷材,排除氣泡,并用刮刀將溢出的熱熔膠刮壓邊縫,另一人用輥壓實卷材使其與基層粘貼密實。
③搭接縫處施工。卷材表面有一層防水層隔離縫,在熱熔粘接接縫前,先將下層卷材表面的隔離膜燒掉,從新搭接,施工時噴槍移動速度要合適,以剛好熔去隔離膜為宜,同時進行排氣和輥壓,保證接縫粘接牢固。卷材的搭接縫寬度(滿粘):長邊不應小于100mm,短邊不應小于150mm。
5)第二遍防水卷材鋪貼。第二遍使用Ⅳ型自帶保護層(上人屋面可采用普通型)SBS防水卷材,施工方法同第一層,但卷材搭接縫位置應錯開,長邊錯開不少于三分之一幅寬,短邊錯開不少于50cm。
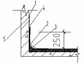
6)防水卷材收頭密封。防水層在水落口部位的收頭距口邊緣5cm,并留凹槽以便防水層端頭壓入凹槽,填嵌密封膏后不應阻水(圖2),防水層在泛水部位的收頭距屋面找平層的高度不少于25cm(圖3),待大面積卷材施工完成后進行處理。應將卷材末端裁齊,并用水泥釘將卷材末端釘在墻上,水泥釘間距不大于90cm,并保證其不翹邊,然后用密封嵌縫,密封膏固化后,用1︰3水泥砂漿壓縫使其達到密封效果。

圖2 水落口處構造做法
1—防水層 2—附加層 3—密封材料 4—水落口杯

圖3 混凝土墻卷材泛水收頭
1—密封材料 2—附加層 3—防水層 4—金屬合成高分子蓋板 5—水泥釘
?。?)涂料防水施工工藝流程?;鶎忧謇?rarr;細部附加層處理→第一遍涂膜防水層→第二遍涂膜防水層→第三遍涂膜防水層→20mm厚1︰3 水泥砂漿保護層。
1)基層清理。先將基層表面清理干凈,對基層表面留有殘留灰漿、硬塊以及突出部分進行清掃、掃凈;檢查基層表面平整、無起砂、空鼓、空裂等缺陷。
2)細部做附加層涂膜層。穿出屋面的管道、陰陽角等細部薄弱環節,應在大面積刮涂防水層之前,先將該部位的細部附加層的涂膜施工完成。
附加層做法:一般是一布二涂增強涂層,即在兩遍涂刷涂料中間加設一層聚脂無紡布或玻纖布。作業時應均勻涂刷一遍涂料,并排除涂層中的氣泡,將布緊貼在第一遍涂層上。在陰陽角處將布剪成條形,在管根處剪成三角形緊貼涂層面。隨鋪布隨涂刷第二遍涂料;第二遍涂刷應在前一遍涂料表面干后12h進行。兩遍涂膜作業完成24h后且實干后方可進行大面積涂膜防水施工。
3)第一遍涂膜施工。在進行第一遍涂膜前,應先打底層防水刮涂,用量約為0.3kg/m2;第一遍丙烯酸防水涂料用塑料刮板或橡膠刮板在基層表面均勻刮涂,要求厚度一致,不得漏刮、堆積、鼓泡等缺陷,由于本工程屋頂為坡屋頂,應根據實際情況可以配以滾子或刷子共同進行施工。本層刮涂量約在0.6~0.8kg/m2,待涂膜實干后方可進行下一遍涂膜施工。
4)第二遍涂膜施工。在第一遍涂膜固化后的涂層上,采用與第一道涂層相互垂直的方向均勻涂刮丙烯酸防水涂料,刮涂量與第一遍相同;一遍與二遍涂刮間隔不小于24h。
5)第三遍涂膜施工。刮涂第三遍涂膜的作業要求與第二遍相同,但涂刮的方向應與前一遍的方向垂直,此遍刮涂用量約為0.9kg/m2。
涂膜經過幾遍刮涂后其防水層厚度不得低于1.5mm。
6)涂膜防水保護層。在丙烯酸防水涂料施工完畢后,應及時采用20mm厚1:3水泥砂漿進行保護,以保護防水層受到損壞。
6.質量要求
(1)材料合格:所有防水材料及其配套材料的材質證明須齊全,防水材料抽樣復驗,其技術性能須符合有關標準規定和設計要求。
(2)在正式施工前,需做2m?2m的樣板,待檢驗合格后,才可以進行大面積的施工。
(3)屋面防水層不應有積水和滲漏現象,排水系統須保證暢通,本工程要求通過做2h淋水試驗或在雨天后進行檢驗驗收。
(4)卷材的接縫部位須牢固,封邊要嚴密。不允許存在皺折、翹邊、脫層或滑移現象。
(5)在排水口的周圍、檐口部位或卷材防水層的末端收頭處,須粘接牢固,密封良好。
(6)卷材相交的部位應在上面附粘一條卷材,將卷材接縫處封閉嚴密。
7.安全措施
(1)防水材料為易燃物,應庫存于干燥通風遠離火源處,并配備滅火器。
(2)冷底油中的聚氨酯、二甲苯是毒性材料,施工時要配戴手套、口罩,注意不要沾濺皮膚上,不要用二甲苯擦拭皮膚。
(3)存放汽油和冷底油附近,操作者嚴禁吸煙,施工現場應有禁火標志,并配備滅火器。
(4)嚴禁酒后作業,進入現場須戴安全帽。
(5)對施工現場各種防護裝置和安全標志不得隨意挪動或拆除。
(6)須嚴格執行操作規程,不得違章作業,不得冒險蠻干。
(7)文明施工,做到工完料凈場地清。
(8)施工中須注意臨邊施工時的安全防護。
(9)噴燈加油須由專人負責,使用者不得擅自直接加油,以免失火釀成事故。
8.成品保護
(1)注意保護已做好防水層,施工中要防止施工機具把防水層碰破。
(2)做防水層所使用的工具、器具應及時清理,刷子用完后泡在清水中待用。
(3)防水層施工完畢后應及時組織驗收,做好保護層。
(4)發現防水層損壞的情況,應及時修補。
(5)不允許穿帶釘子的鞋進入現場。
(6)竣工的防水層不要堆積鈍器及其它材料,更不能上車行走。
鄭州賽諾建材公司持續研發新型工程材料及工藝設備,提供混凝土,磚石結構的,防火,保溫,隔熱,防水,防腐,滲水,加固及工業地坪的咨詢,施工,維護一體化服務,以很高的性價比,創造性的解決了很多工程難題,受到工程界的普遍歡迎。電話:400-0371-713 m.zdweidun.com.cn








